
INCH-POUND
MIL-F-15733/48G
31 March 2003
SUPERSEDING
MIL-F-15733/48F
14 March 1989
MILITARY SPECIFICATION SHEET
FILTERS, RADIO FREQUENCY INTERFERENCE,
HERMETICALLY SEALED,
STYLE FL92
This specification sheet is approved for use by all Depart-
ments and Agencies of the Department of Defense.
Part numbers M15733/48-0002, -0003, -0004, and -0005 are inactive for new design after
24 November 1982. Part number M15733/48-0001 is inactive for new design after 20 June
1983. See table III for substitution data.
The complete requirements for acquiring the filters described herein shall
consist of this specification sheet and the latest issue of MIL-PRF-15733.
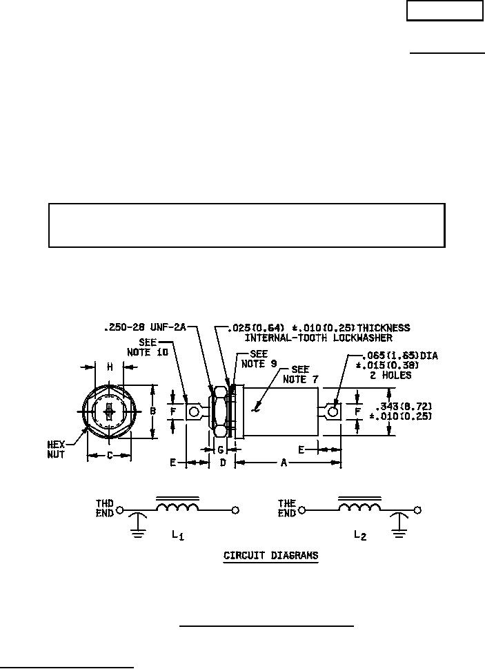
FIGURE 1. Case dimensions and circuit configuration.
AMSC N/A
1 of 6
FSC 5915
DISTRIBUTION STATEMENT A. Approved for public release; distribution is unlimited.
For Parts Inquires call Parts Hangar, Inc (727) 493-0744
© Copyright 2015 Integrated Publishing, Inc.
A Service Disabled Veteran Owned Small Business