
INCH-POUND
MIL-PRF-15733/23B
27 February 2003
SUPERSEDING
MIL-PRF-15733/23A
1 February 1982
PERFORMANCE SPECIFICATION SHEET
FILTERS, RADIO FREQUENCY INTERFERENCE, HERMETICALLY SEALED,
STYLES FL10 AND FL11
The following dash numbers are inactive for design after 31 May 1990: -0001, through -0006, -0013
through -0018, -0025 through -0030, -0037 through -0042, and -0049 through -0054. The following
dash numbers are inactive for design after 30 November 1993: -0007 through -0012, -0019 through -
0024, -0031 through -0036, -0043 through -0048, and -0055 through -0060. See table III for
supersession data.
This specification is approved for use by all Departments
and Agencies of the Department of Defense.
The requirements for acquiring the filters described herein shall consist
of this specification and the latest issue of MIL-PRF-15733.
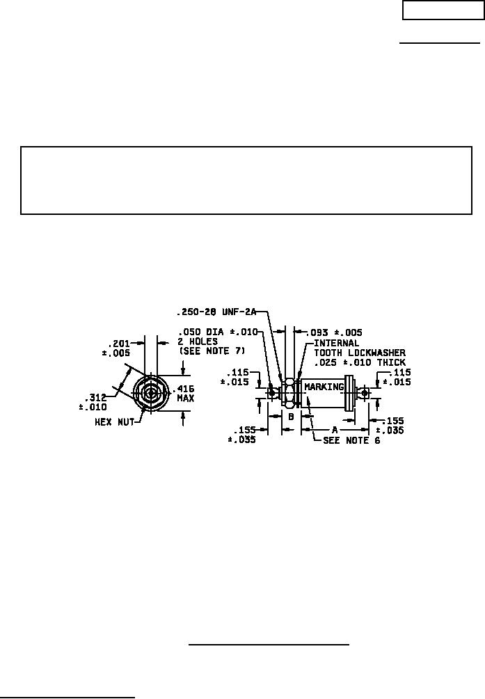
Inch
mm
Inch
mm
.005
.13
.155
3.94
.010
.25
.187
4.75
.015
.38
.201
5.11
.025
.64
.250
6.35
.035
.89
.312
7.92
.050
1.27
.416
10.57
.070
1.78
.630
16.00
.093
2.36
.730
18.54
.115
2.92
FIGURE 1. Case dimensions and circuit diagrams.
AMSC N/A
1 of 7
FSC 5915
DISTRIBUTION STATEMENT A. Approved for public release; distribution is unlimited.